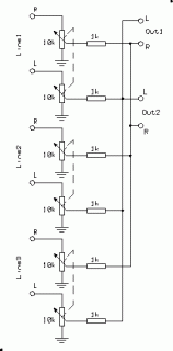
mikser1.gif
- Önceki yazı Audio Mixer
Bunlar da hoşunuza gidebilir...
Temel Elektronik
Yazar: arsivden · Published 1 Haziran 1999
Kablosuz Ağlarda Güvenlik ve Performans
Yazar: antrak · Published 27 Ekim 2009 · Last modified 12 Ağustos 2015
Yazar: arsivden · Published 1 Haziran 1999
Yazar: antrak · Published 27 Ekim 2009 · Last modified 12 Ağustos 2015
